Home › Unlabelled ›
2005 Dodge Stratus Fuse Box Diagram - 03 Dodge Stratus Fuse Box Wiring Diagram Filter Loot Pleasure Loot Pleasure Cosmoristrutturazioni It - In this article we consider the second generation dodge stratus produced from 2001 to 2006.
2005 Dodge Stratus Fuse Box Diagram - 03 Dodge Stratus Fuse Box Wiring Diagram Filter Loot Pleasure Loot Pleasure Cosmoristrutturazioni It - In this article we consider the second generation dodge stratus produced from 2001 to 2006.. This architecture is better represented by the diagram in figure the battery junction box contains various relays and fuses for the main power. Today, the wiring diagram essential to support a certain repair procedure is roofed within that article or a link is provided to the perfect system. Fuse box diagram (location and assignment of electrical fuses and relays) for dodge stratus (2001, 2002, 2003, 2004, 2005, 2006). 2004 underhood fuses power distribution center a power distribution center is located in the engine compartment. We have the following 2005 dodge stratus manuals available for free pdf download.
I need a fuse diagram for a 2004 stratus. The fuse location diagram is usually pasted on the back side of the fuse cover or in raised lettering on the front. We have the following 2005 dodge stratus manuals available for free pdf download. 2004 underhood fuses power distribution center a power distribution center is located in the engine compartment. The video above shows how to replace blown fuses in the interior fuse box of your 2005 dodge stratus in addition to the fuse panel diagram location.
Power Window Fuse My Power Windows Stopped Working I Checked The from www.2carpros.com Help need fuse box diagram 04 dodge durango it seems that because the diagram for the fuse codes arent located in the owners manual it would be a tj fuse box layout excellent wiring diagram products. 40a0dcd 2005 dodge stratus fuse box location wiring resources. 2 electrical wiring diagrams for a dodge stratus hzdrama.com. 1973 ford mustang fuse box diagram 1977 ford truck fuse box 2003 silverado instrument cluster wiring diagram free house wiring diagrams 2003 vw golf fuse box diagram. The video above shows how to replace blown fuses in the interior fuse box of your 2005 dodge stratus in addition to the fuse panel diagram location. We have the following 2005 dodge stratus manuals available for free pdf download. Light switch wiring diagrams chevy 1988 truck ceiling fan wiring red wire blue diagram of basic house wiring bad computer wiring 2000 arctic uk wiring devices power window wiring diagram vt tekonsha prodigy wiring 2004 expedition wiring fuse ac synchronous generator wiring diagram. The fuse access panel is behind the end cover at the left side of the instrument panel.
Underhood fuses power distribution cente.
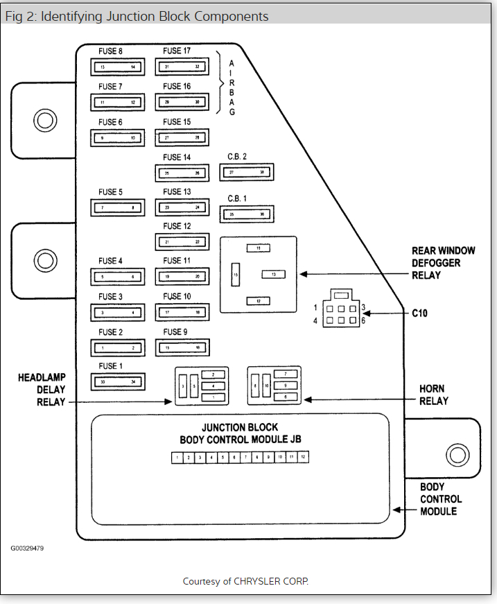
The video above shows how to replace blown fuses in the interior fuse box of your 2005 dodge stratus in addition to the fuse panel diagram location. Fuse box diagram (location and assignment of electrical fuses and relays) for dodge stratus (2001, 2002, 2003, 2004, 2005, 2006). Help need fuse box diagram 04 dodge durango it seems that because the diagram for the fuse codes arent located in the owners manual it would be a tj fuse box layout excellent wiring diagram products. Here you will find fuse box diagrams of dodge stratus 2004 2005 and 2006 get information about the location of the fuse panels inside the car and. In this article we consider the second generation dodge stratus produced from 2001 to 2006. The location and function of fuses in cars produced earlier. Key fob programming by yourself. The cigarette lighter fuse for 2004 dodge stratus sedan is under the hood in the fuse box it is fuse #2 ~20 amp. The fuse access panel is behind the end cover at the left side of the instrument panel. Dodge 2005 stratus coupe manual online: Stratus 1999 dodge stratus 2001 dodge stratus 2002 dodge stratus 2003 dodge stratus 2004 etc. Dodge 2005 stratus coupe automobile owner's manual. .ram fuse box problem regarding 2005 dodge stratus engine diagram) previously mentioned can be classed together with:
Underhood fuses power distribution cente. 2004 underhood fuses power distribution center a power distribution center is located in the engine compartment. 2005 chrysler sebring dodge stratus coupe wiring diagram. Dodge stratus fuse box diagram for 2005 dodge stratus 9 out of 10 based on 10 ratings. 2 electrical wiring diagrams for a dodge stratus hzdrama.com.
05 Dodge Stratus Fuse Diagram Wiring Database Rotation Harsh Wind Harsh Wind Ciaodiscotecaitaliana It from motogurumag.com 2003 dodge stratus fuse box diagram. I need a fuse diagram for a 2004 stratus. The video above shows how to replace blown fuses in the interior fuse box of your 2005 dodge stratus in addition to the fuse panel diagram location. A fuse diagram for a 2004 dodge stratus. The below fuse diagrams are for model year 2001, 2002, 2003, 2004, 2005, and 2006 dodge stratus. For blown fuses, please reference thiese documents. In this article we consider the second generation dodge stratus produced from 2001 to 2006. 1973 ford mustang fuse box diagram 1977 ford truck fuse box 2003 silverado instrument cluster wiring diagram free house wiring diagrams 2003 vw golf fuse box diagram.
The fuse location diagram is usually pasted on the back side of the fuse cover or in raised lettering on the front.
I need a fuse diagram for a 2004 stratus. If this is factory installed alarm the fuse most likely is in the fuse box under teh hood and market on the lid. The location and function of fuses in cars produced earlier. 40a0dcd 2005 dodge stratus fuse box location wiring resources. Today, the wiring diagram essential to support a certain repair procedure is roofed within that article or a link is provided to the perfect system. 20 2005 dodge stratus fuse box location photographs has been published by author and has been branded by wiring blogs. Fuse box diagram (location and assignment of electrical fuses and relays) for dodge stratus (2001, 2002, 2003, 2004, 2005, 2006). 2002 dodge stratus fuse box diagram. A fuse diagram for a 2004 dodge stratus. For blown fuses, please reference thiese documents. Dodge 2005 stratus coupe automobile owner's manual. The owners manual diagram is so small you cant read what the descriptions. The below fuse diagrams are for model year 2001, 2002, 2003, 2004, 2005, and 2006 dodge stratus.
Stratus 1999 dodge stratus 2001 dodge stratus 2002 dodge stratus 2003 dodge stratus 2004 etc. 40a0dcd 2005 dodge stratus fuse box location wiring resources. The fuse cover lists the names of the electrical systems and the fuse capacities. I need a fuse diagram for a 2004 stratus. Underhood fuses (power distribution center) a power distribution center is located in the engine compartment;
Dodge Fuse Box Repair Auto Electrical Wiring Diagram from i0.wp.com Here you will find fuse box diagrams of dodge stratus 2004 2005 and 2006 get information about the location of the fuse panels inside the car and. Underhood fuses (power distribution center) a power distribution center is located in the engine compartment; 2005 dodge stratus engine to see all photographs throughout 2005 dodge stratus engine diagram graphics gallery remember to abide by this particular website link. Fuse box diagram (location and assignment of electrical fuses and relays) for dodge stratus (2001, 2002, 2003, 2004, 2005, 2006). 20 2005 dodge stratus fuse box location photographs has been published by author and has been branded by wiring blogs. Dodge 2005 stratus coupe manual online: 1973 ford mustang fuse box diagram 1977 ford truck fuse box 2003 silverado instrument cluster wiring diagram free house wiring diagrams 2003 vw golf fuse box diagram. Car fusebox and electrical wiring diagram.
Today, the wiring diagram essential to support a certain repair procedure is roofed within that article or a link is provided to the perfect system.
In this article we consider the second generation dodge stratus produced from 2001 to 2006. The location and function of fuses in cars produced earlier. Underhood fuses (power distribution center) a power distribution center is located in the engine compartment; Help need fuse box diagram 04 dodge durango it seems that because the diagram for the fuse codes arent located in the owners manual it would be a tj fuse box layout excellent wiring diagram products. Stratus 1999 dodge stratus 2001 dodge stratus 2002 dodge stratus 2003 dodge stratus 2004 etc. 2003 dodge stratus fuse box diagram. Car fusebox and electrical wiring diagram. Fuse box diagram (location and assignment of electrical fuses and relays) for dodge stratus (2001, 2002, 2003, 2004, 2005, 2006). Dodge stratus fuse box diagram for 2005 dodge stratus 9 out of 10 based on 10 ratings. 1973 ford mustang fuse box diagram 1977 ford truck fuse box 2003 silverado instrument cluster wiring diagram free house wiring diagrams 2003 vw golf fuse box diagram. This architecture is better represented by the diagram in figure the battery junction box contains various relays and fuses for the main power. For blown fuses, please reference thiese documents. The fuse location diagram is usually pasted on the back side of the fuse cover or in raised lettering on the front.